- 搪玻璃设备
- 王经理:05332860177
- 不锈钢有色金属设备
- 傅经理:13906430854
- 衬四氟设备及配件
- 傅经理:15253328001
- 技术咨询服务
- 王经理:18653342297
登录入口手机版下载 之搪玻璃计套管技术参数
来源:淄博市福民化工设备有限 日期:2016-04-18
登录入口手机版下载
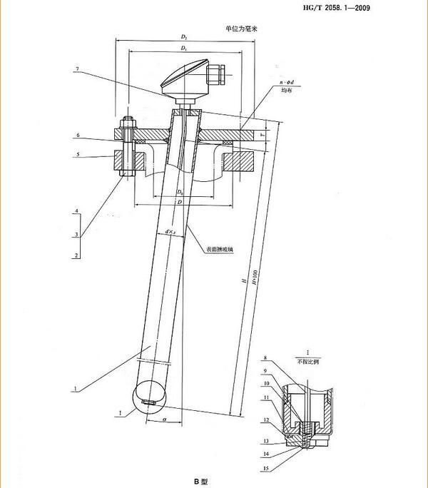
之搪玻璃计套管技术参数,温度计套结构分为A型、B型两种,A型为不带测温头装置的温度计套,其基本参数我们会在下文中介绍。B型为带测温头装置的温度计套,其***小公称直径为DN50,基本参数及主要尺寸如下文所示。
|
公称直径 DN/mm |
Dxs /mm |
所配管口 |
D /mm |
D0 /mm |
D1 /mm |
D2 /mm |
n |
D /mm |
|
|
公称直径 DN/mm |
公称压力 PN/MPa |
||||||||
| 32 | 32x4 | 50 | 1.5 | 102 | 53 | 125 | 165 | 4 | 18 |
| 50 | 50x5 | 80 | 138 | 83 | 160 | 200 | 8 | 18 | |
| 65 | 63.5x5 | 100 | 158 | 103 | 180 | 220 | 18 | ||
| 80 | 80x6 | 150 | 212 | 153 | 240 | 285 | 32 | ||
| 95 | 95x8 | 200 | 268 | 203 | 298 | 340 | |||
| T尺寸有生产厂家根据不同材质自行确定。 | |||||||||
|
公称直径 DN/mm |
所配搪玻璃容器 | 接管安装角a/(°) |
配锚式搅拌器 H/mm |
配浆式/叶轮式(浆式)搅拌器 H/mm |
参考质量/kg | |||
|
容积VN /L |
公称直径 DN/mm |
配锚式搅拌器 | 配框式/叶轮式(浆式)搅拌器 | |||||
| L系列 | S系列 | |||||||
| 32 | 50 | - | 500 | 0 | - | 485/670 | - | 9.2/9.7 |
| - | 500 | 注1 | 670 | - | 9.7 | - | ||
| 100 | - | 600 | 0 | - | 385/575 | - | 11.5/12.0 | |
| 注1 | 650 | - | 12.5 | - | ||||
| 50 | 200 | - | 700 | 0 | - | 575/815 | - | 12.0/12.5 |
| 注1 | 900 | - | 13.7 | - | ||||
| 300 | - | 800 | 0 | - | 700/700 | - | 12.2/12.5 | |
| 注1 | 1000 | - | 14.2 | - | ||||
| 400 | 800 | - | 0 | - | 820/950 | - | 13.0/13.7 | |
| 注2 | 1200 | - | 13.9 | - | ||||
| 65 | 500 | 900 | - | 0 | - | 860/1080 | - | 20.8/22.4 |
| 注2 | 1230 | - | 23.1 | - | ||||
| 8001 | 1000 | - | 0 | - | 1020/1290 | - | 21.5/22.2 | |
| 注2 | 1440 | - | 23.3 | - | ||||
| 1000 | 1100 | - | 0 | - | 1070/1400 | - | 27.9/32.0 | |
| 注2 | 1620 | - | 24.9 | - | ||||
| 80 | 1000 | - | 1200 | 0 | - | 930/1300 | - | 31.1/33.1 |
| 7 | 1300 | - | 32.0 | - | ||||
| 1500 | 1200 | - | 0 | - | 1200/1500 | - | 29.6/33.1 | |
| 7 | 1700 | - | 34.8 | - | ||||
| - | 1300 | 0 | - | 1000/1500 | - | 29.6/37.7 | ||
| 7 | 1500 | - | 33.3 | - | ||||
| 2000 | 1300 | - | 0 | - | 1400/1900 | - | 32.6/37.7 | |
| 7 | 1900 | - | 36.3 | - | ||||
| 2000 | - | 1450 | 0 | - | 1000/1500 | - | 29.6/33.1 | |
| 7 | 1600 | - | 31.8 | - | ||||
| 3000 | 1450 | - | 0 | - | 1500/2200 | - | 35.8/40.9 | |
| 7 | 2100 | - | 35.5 | - | ||||
| 95 | 3000 | - | 1600 | 0 | - | 1300/1800 | - | 32.9/36.5 |
| 7 | 1900 | - | 34.0 | - | ||||
| 4000 | 1600 | - | 0 | - | 1700/2300 | - | 35.5/42.1 | |
| 7 | 2400 | - | 37.7 | - | ||||
| - | 1750 | 0 | - | 1400/1900 | - | 32.2/37.7 | ||
| 7 | 2100 | - | 50.0 | - | ||||
| 5000 | 1750 | - | 0 | - | 1900/2400 | 48.3/50.69 | ||
| 7 | 2600 | - | - | |||||
|
注1:接管安装角为0°,不偏转角度(因相应的搪玻璃搅拌容器标准中,封头与温度计管口对接处在顶出时已偏转了15°)。 注2:接管安装角为0°,不偏转角(因相应的搪玻璃搅拌容器标准中,封头与温度计管口对接处在顶出时已偏转了10°)。 |
||||||||
以上内容则为登录入口手机版下载
之搪玻璃计套管技术参数的简介,希望能够为需要温度计套的朋友提供这个方面的帮助。
上一篇:淄博福民讲解 的安全配套措施
下一篇:避免 损失的具体方法









